新北洋获得实用新型专利授权:“一种辊轮、入币装置及现金循环处理设备”
2025年06月13日 | 浏览量:49990

图片来源于网络,如有侵权,请联系删除
证券之星消息,根据天眼查APP数据显示新北洋(002376)新获得一项实用新型专利授权,专利名为“一种辊轮、入币装置及现金循环处理设备”,专利申请号为CN202422005227.7,授权日为2025年6月13日。
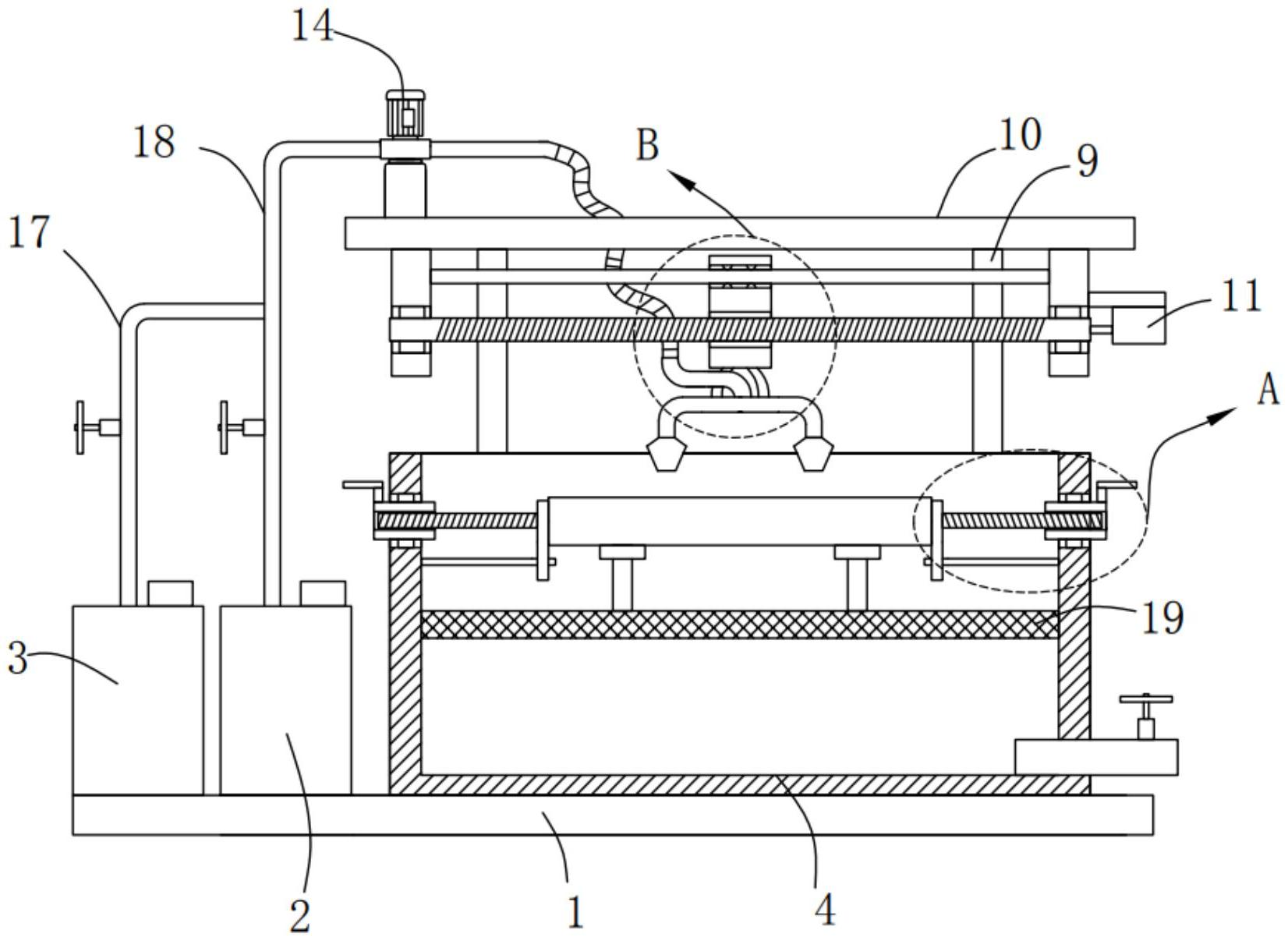
专利摘要:本实用新型涉及薄片介质处理设备技术领域,具体公开了一种辊轮、入币装置及现金循环处理设备,该辊轮包括轮体和摩擦部,轮体包括同轴且相互连接的第一轮体和第二轮体;沿轮体的轴线方向,摩擦部同时与第一轮体和第二轮体相互插接,且第一轮体的长度和第二轮体的长度均小于摩擦部的长度,第一轮体的长度和第二轮体的长度之和大于或等于摩擦部的长度。该辊轮将轮体拆分成两个较短的第一轮体和第二轮体,在装配辊轮时,可先将摩擦部的两端分别与第一轮体和第二轮体相互插接,然后再将第一轮体和第二轮体同轴连接,如此使得摩擦部相对第一轮体和第二轮体的安装行程均较短,能容易地实现摩擦部与第一轮体和第二轮体的连接,进而提高辊轮的装配效率。

图片来源于网络,如有侵权,请联系删除
今年以来新北洋新获得专利授权33个,较去年同期增加了3.12%。结合公司2024年年报财务数据,2024年公司在研发方面投入了3.46亿元,同比增1.57%。
数据来源:天眼查APP
以上内容为证券之星据公开信息整理,由AI算法生成(网信算备310104345710301240019号),不构成投资建议。
本文来源:财富导航网
本文地址:https://sintedes.com/post/28494.html
关注我们:微信搜索“xiaoqihvlove”添加我为好友
版权声明:如无特别注明,转载请注明本文地址!
- •科大讯飞获得外观设计专利授权:“机器人”
- •中国石化获得发明专利授权:“一种植物性高强度自降解隔离暂堵剂及其制备与使用方法”
- •金陵饭店(601007.SH):董事长毕金标辞职
- •长江电力获得发明专利授权:“一种船舶航行信息校验方法及装置”
- •南网能源:截至2025年11月28日持有人数为101,088
- •比亚迪获得实用新型专利授权:“定子组件及电机、车辆”
- •【ESG动态】深水海纳(300961.SZ)获华证指数ESG最新评级C,行业排名第159
- •ST云动获得实用新型专利授权:“一种燃料电池储能调峰装置及系统”
- •英维克获得外观设计专利授权:“机房空调”
- •亿纬锂能获得实用新型专利授权:“汇流盘、电芯及电池”

