格力电器获得实用新型专利授权:“一种热水器换热机构及其热水器”
2025年06月17日 | 浏览量:51980

图片来源于网络,如有侵权,请联系删除
证券之星消息,根据天眼查APP数据显示格力电器(000651)新获得一项实用新型专利授权,专利名为“一种热水器换热机构及其热水器”,专利申请号为CN202421741398.X,授权日为2025年6月17日。
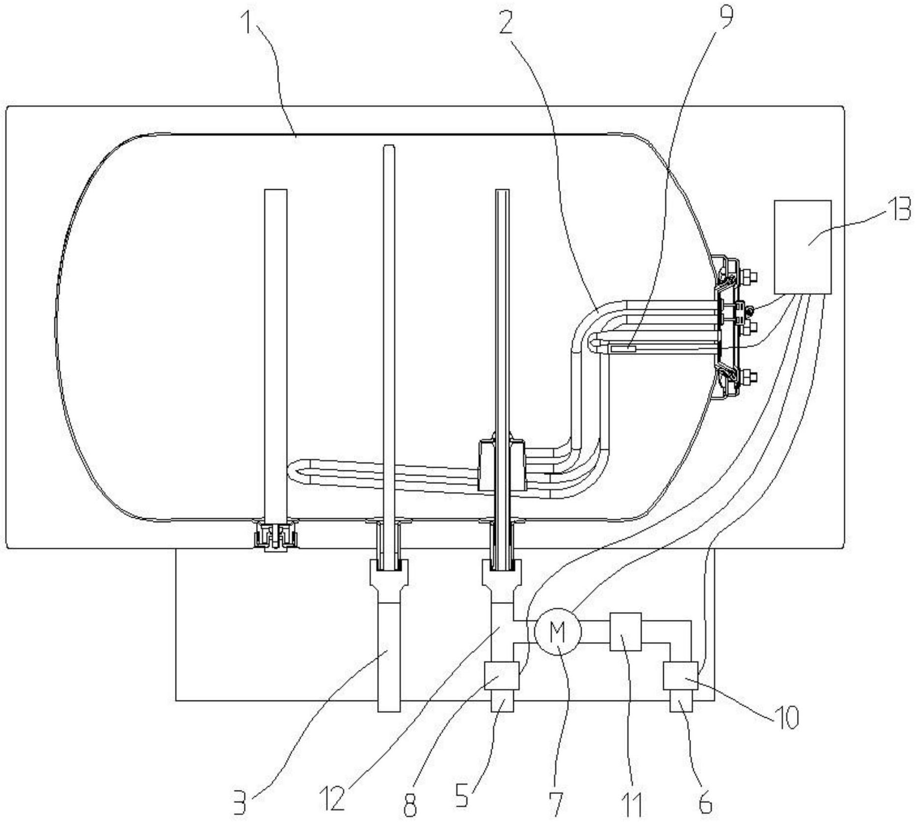
专利摘要:本实用新型公开了一种热水器换热机构,其包括:热交换器主体和防护罩,所述防护罩罩设于所述热交换器主体的外部,所述热交换器主体包括进水管和出水管,所述进水管和所述出水管穿设于所述防护罩。该热水器换热机构通过在热交换器主体外增设防护罩,由防护罩对热水器主体产生的噪声进行降噪处理。同时防护罩还具备隔热功能,不仅能提高热交换效率,而且在冬天还能防止盘管结冰胀裂,其结构简单、成本较低。本实用新型还公开了一种热水器,该热水器具有降噪、隔热、防盘管结冰的优点。

图片来源于网络,如有侵权,请联系删除
今年以来格力电器新获得专利授权2826个,较去年同期减少了4.53%。结合公司2024年年报财务数据,2024年公司在研发方面投入了69.04亿元,同比增2.1%。
数据来源:天眼查APP
以上内容为证券之星据公开信息整理,由AI算法生成(网信算备310104345710301240019号),不构成投资建议。
本文来源:财富导航网
本文地址:https://sintedes.com/post/28779.html
关注我们:微信搜索“xiaoqihvlove”添加我为好友
版权声明:如无特别注明,转载请注明本文地址!
- •科大讯飞获得外观设计专利授权:“机器人”
- •中国石化获得发明专利授权:“一种植物性高强度自降解隔离暂堵剂及其制备与使用方法”
- •金陵饭店(601007.SH):董事长毕金标辞职
- •长江电力获得发明专利授权:“一种船舶航行信息校验方法及装置”
- •南网能源:截至2025年11月28日持有人数为101,088
- •【ESG动态】深水海纳(300961.SZ)获华证指数ESG最新评级C,行业排名第159
- •比亚迪获得实用新型专利授权:“定子组件及电机、车辆”
- •英维克获得外观设计专利授权:“机房空调”
- •ST云动获得实用新型专利授权:“一种燃料电池储能调峰装置及系统”
- •亿纬锂能获得实用新型专利授权:“汇流盘、电芯及电池”

