曼恩斯特获得实用新型专利授权:“一种涂布装置”
2025年06月17日 | 浏览量:73379

图片来源于网络,如有侵权,请联系删除
证券之星消息,根据天眼查APP数据显示曼恩斯特(301325)新获得一项实用新型专利授权,专利名为“一种涂布装置”,专利申请号为CN202421481078.5,授权日为2025年6月17日。
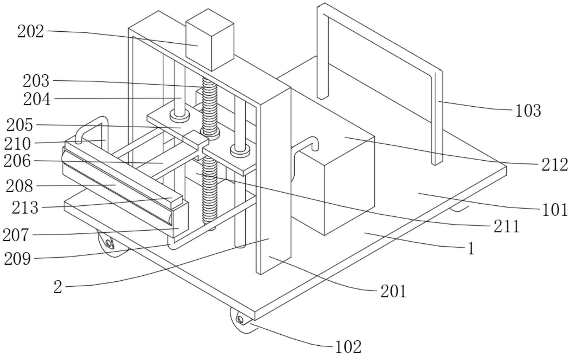
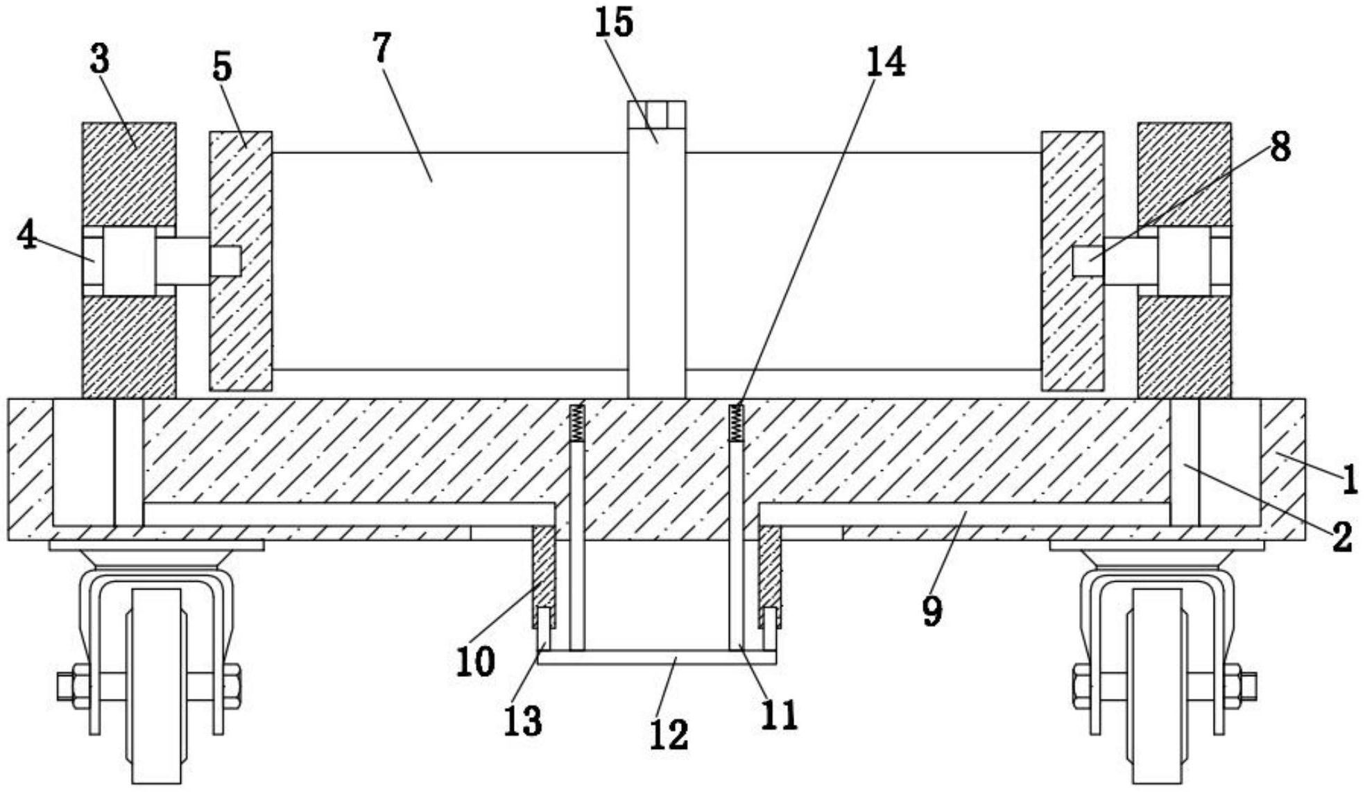
专利摘要:本实用新型公开了一种涂布装置,包括:载台本体;载台本体上设有多个气孔;夹持机构,适于在载台本体上夹持待涂布基板以进行定位调节;顶升机构,顶升机构的调节端具有上升至高于载台本体的上表面以抵接并支撑待涂布基板的活动状态,以及下降至低于载台本体的上表面以放置待涂布基板的隐藏状态;气孔具有对待涂布基板进行悬浮支撑的气浮状态以及吸附待涂布基板的固定状态;在顶升机构的调节端由活动状态向隐藏状态切换以及调节待涂布基板时,每一气孔均处于气浮状态;在完成对待涂布基板的调节后,每一气孔均由气浮状态切换至固定状态。解决了现有的涂布机校正待涂布基板难度大,且待涂布基板贴合涂布平台移动导致摩擦造成损伤的技术问题。

图片来源于网络,如有侵权,请联系删除
今年以来曼恩斯特新获得专利授权86个,较去年同期增加了230.77%。结合公司2024年年报财务数据,2024年公司在研发方面投入了1.2亿元,同比增71.22%。
数据来源:天眼查APP
以上内容为证券之星据公开信息整理,由AI算法生成(网信算备310104345710301240019号),不构成投资建议。
本文来源:财富导航网
本文地址:https://sintedes.com/post/28780.html
关注我们:微信搜索“xiaoqihvlove”添加我为好友
版权声明:如无特别注明,转载请注明本文地址!
- •科大讯飞获得外观设计专利授权:“机器人”
- •中国石化获得发明专利授权:“一种植物性高强度自降解隔离暂堵剂及其制备与使用方法”
- •金陵饭店(601007.SH):董事长毕金标辞职
- •长江电力获得发明专利授权:“一种船舶航行信息校验方法及装置”
- •南网能源:截至2025年11月28日持有人数为101,088
- •【ESG动态】深水海纳(300961.SZ)获华证指数ESG最新评级C,行业排名第159
- •比亚迪获得实用新型专利授权:“定子组件及电机、车辆”
- •英维克获得外观设计专利授权:“机房空调”
- •ST云动获得实用新型专利授权:“一种燃料电池储能调峰装置及系统”
- •亿纬锂能获得实用新型专利授权:“汇流盘、电芯及电池”

