杰克股份获得实用新型专利授权:“一种缝纫机及其送料剪线集成驱动机构”
2025年06月27日 | 浏览量:49305

图片来源于网络,如有侵权,请联系删除
证券之星消息,根据天眼查APP数据显示杰克股份(603337)新获得一项实用新型专利授权,专利名为“一种缝纫机及其送料剪线集成驱动机构”,专利申请号为CN202422155830.3,授权日为2025年6月27日。
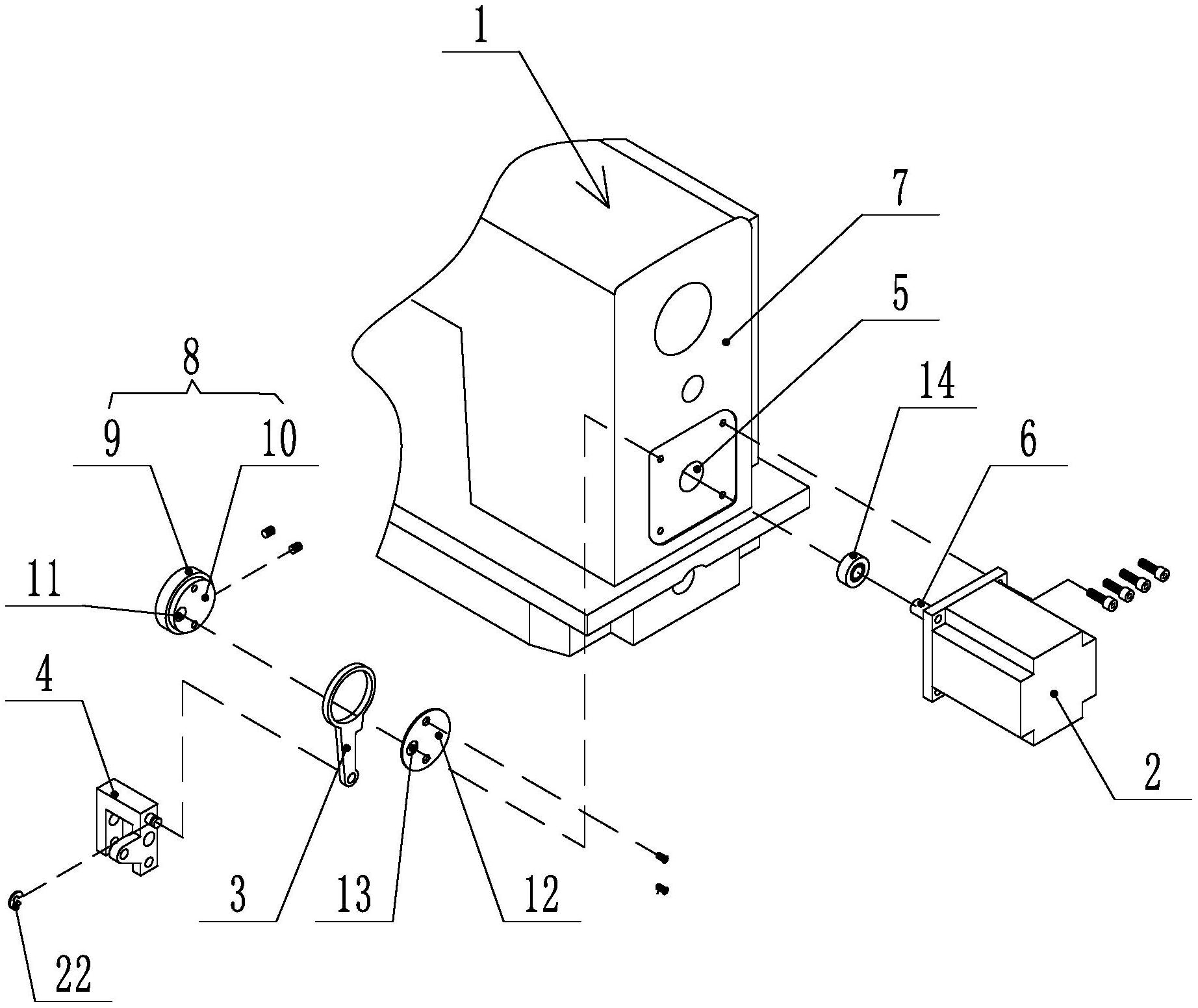
专利摘要:本实用新型提供了一种缝纫机及其送料剪线集成驱动机构,包括驱动电机、在驱动电机的驱动下旋转的送料臂和剪线臂、以及剪线驱动件,送料臂与送料机构相连接,剪线臂上设有剪线滚珠,剪线驱动件上设有剪线驱动臂;当送料牙即将从针板中冒出时,送料臂的轴线与送料连杆的轴线之间的夹角小于等于25°;当动刀和定刀即将结束咬合时,剪线滚珠与剪线咬合面接触配合。本实用新型还提供了一种缝纫机,包括前述的送料剪线集成驱动机构。本实用新型的有益之处在于可以降低在送料和剪线过程中作用在电机上的峰值负载转矩。
今年以来杰克股份新获得专利授权48个,较去年同期减少了11.11%。结合公司2024年年报财务数据,2024年公司在研发方面投入了4.88亿元,同比增23.67%。
通过天眼查大数据分析,杰克科技股份有限公司共对外投资了23家企业,参与招投标项目259次;财产线索方面有商标信息419条,专利信息2635条,著作权信息147条;此外企业还拥有行政许可18个。
数据来源:天眼查APP
以上内容为证券之星据公开信息整理,由AI算法生成(网信算备310104345710301240019号),不构成投资建议。
本文来源:财富导航网
本文地址:https://sintedes.com/post/29603.html
关注我们:微信搜索“xiaoqihvlove”添加我为好友
版权声明:如无特别注明,转载请注明本文地址!
- •科大讯飞获得外观设计专利授权:“机器人”
- •中国石化获得发明专利授权:“一种植物性高强度自降解隔离暂堵剂及其制备与使用方法”
- •金陵饭店(601007.SH):董事长毕金标辞职
- •长江电力获得发明专利授权:“一种船舶航行信息校验方法及装置”
- •南网能源:截至2025年11月28日持有人数为101,088
- •【ESG动态】深水海纳(300961.SZ)获华证指数ESG最新评级C,行业排名第159
- •比亚迪获得实用新型专利授权:“定子组件及电机、车辆”
- •英维克获得外观设计专利授权:“机房空调”
- •ST云动获得实用新型专利授权:“一种燃料电池储能调峰装置及系统”
- •亿纬锂能获得实用新型专利授权:“汇流盘、电芯及电池”

