太原重工获得发明专利授权:“提高盘类锻件组织均匀性的闭式锻造方法”
2025年06月28日 | 浏览量:62563

图片来源于网络,如有侵权,请联系删除
证券之星消息,根据天眼查APP数据显示太原重工(600169)新获得一项发明专利授权,专利名为“提高盘类锻件组织均匀性的闭式锻造方法”,专利申请号为CN202310308738.3,授权日为2025年6月27日。
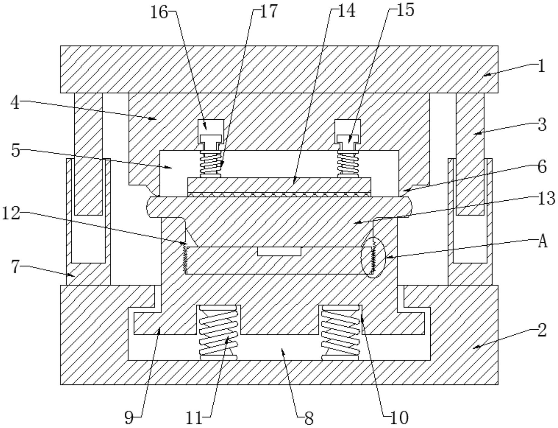
专利摘要:本发明公开了一种提高盘类锻件组织均匀性的闭式锻造方法,包括:根据锻件成品的规格要求,设计锻件荒坯尺寸图,选择锻造设备、选取棒料作为原材料,设计闭式制坯工艺路线;制备闭式制坯模具组;根据闭式制坯工艺路线,在闭式制坯模具组内通过锻造设备锻造成型荒坯;对荒坯进行模锻,模锻一火成型盘类锻件成品。利用本发明的闭式锻造方法,盘类锻件荒坯的锻造成形在闭式模具内进行,根据坯料高度/直径的比值选用不同结构形状的模具,有效提高锻件探伤水平和晶粒度等级,由此提高盘类锻件组织均匀性,显著提高产品合格率和质量稳定性;并且显著减少锻造火次,大大缩减了生产周期,节约了经济成本,显著提高了生产效率济成本。

图片来源于网络,如有侵权,请联系删除
今年以来太原重工新获得专利授权37个,与去年同期持平。结合公司2024年年报财务数据,2024年公司在研发方面投入了4.45亿元,同比增27.91%。
通过天眼查大数据分析,太原重工股份有限公司共对外投资了23家企业,参与招投标项目8407次;财产线索方面有专利信息2039条,著作权信息59条;此外企业还拥有行政许可105个。
数据来源:天眼查APP
以上内容为证券之星据公开信息整理,由AI算法生成(网信算备310104345710301240019号),不构成投资建议。
本文来源:财富导航网
本文地址:https://sintedes.com/post/29781.html
关注我们:微信搜索“xiaoqihvlove”添加我为好友
版权声明:如无特别注明,转载请注明本文地址!
- •科大讯飞获得外观设计专利授权:“机器人”
- •中国石化获得发明专利授权:“一种植物性高强度自降解隔离暂堵剂及其制备与使用方法”
- •金陵饭店(601007.SH):董事长毕金标辞职
- •长江电力获得发明专利授权:“一种船舶航行信息校验方法及装置”
- •南网能源:截至2025年11月28日持有人数为101,088
- •【ESG动态】深水海纳(300961.SZ)获华证指数ESG最新评级C,行业排名第159
- •比亚迪获得实用新型专利授权:“定子组件及电机、车辆”
- •英维克获得外观设计专利授权:“机房空调”
- •ST云动获得实用新型专利授权:“一种燃料电池储能调峰装置及系统”
- •亿纬锂能获得实用新型专利授权:“汇流盘、电芯及电池”

