迅安科技获得外观设计专利授权:“自动变光滤光镜(XA-1022D)”
2025年07月11日 | 浏览量:61393

图片来源于网络,如有侵权,请联系删除
证券之星消息,根据天眼查APP数据显示迅安科技(834950)新获得一项外观设计专利授权,专利名为“自动变光滤光镜(XA-1022D)”,专利申请号为CN202430720290.1,授权日为2025年7月11日。
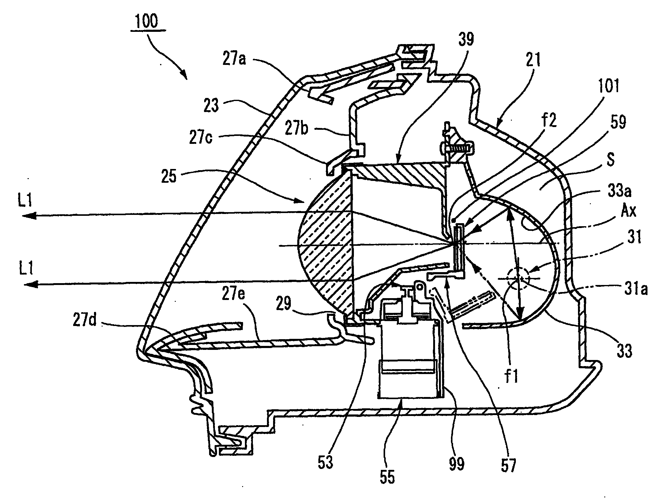
专利摘要:1.本外观设计产品的名称:自动变光滤光镜(XA?1022D)。2.本外观设计产品的用途:本外观设计配合焊接面罩上使用,能根据环境光线,自动变换滤光镜的亮黑程度,起到保护焊接作业者眼睛的作用。3.本外观设计产品的设计要点:在于形状。4.最能表明设计要点的图片或照片:立体图。

图片来源于网络,如有侵权,请联系删除
今年以来迅安科技新获得专利授权14个,较去年同期增加了7.69%。结合公司2024年年报财务数据,2024年公司在研发方面投入了1137.89万元,同比增7.82%。
通过天眼查大数据分析,常州迅安科技股份有限公司共对外投资了1家企业,参与招投标项目23次;财产线索方面有商标信息13条,专利信息118条,著作权信息11条;此外企业还拥有行政许可23个。
数据来源:天眼查APP
以上内容为证券之星据公开信息整理,由AI算法生成(网信算备310104345710301240019号),不构成投资建议。
本文来源:财富导航网
本文地址:https://sintedes.com/post/30702.html
关注我们:微信搜索“xiaoqihvlove”添加我为好友
版权声明:如无特别注明,转载请注明本文地址!
- •科大讯飞获得外观设计专利授权:“机器人”
- •中国石化获得发明专利授权:“一种植物性高强度自降解隔离暂堵剂及其制备与使用方法”
- •金陵饭店(601007.SH):董事长毕金标辞职
- •长江电力获得发明专利授权:“一种船舶航行信息校验方法及装置”
- •南网能源:截至2025年11月28日持有人数为101,088
- •比亚迪获得实用新型专利授权:“定子组件及电机、车辆”
- •【ESG动态】深水海纳(300961.SZ)获华证指数ESG最新评级C,行业排名第159
- •ST云动获得实用新型专利授权:“一种燃料电池储能调峰装置及系统”
- •英维克获得外观设计专利授权:“机房空调”
- •亿纬锂能获得实用新型专利授权:“汇流盘、电芯及电池”

