电光科技获得发明专利授权:“一种多通电缆连接器”
2025年07月12日 | 浏览量:59708

图片来源于网络,如有侵权,请联系删除
证券之星消息,根据天眼查APP数据显示电光科技(002730)新获得一项发明专利授权,专利名为“一种多通电缆连接器”,专利申请号为CN202510446803.8,授权日为2025年7月11日。
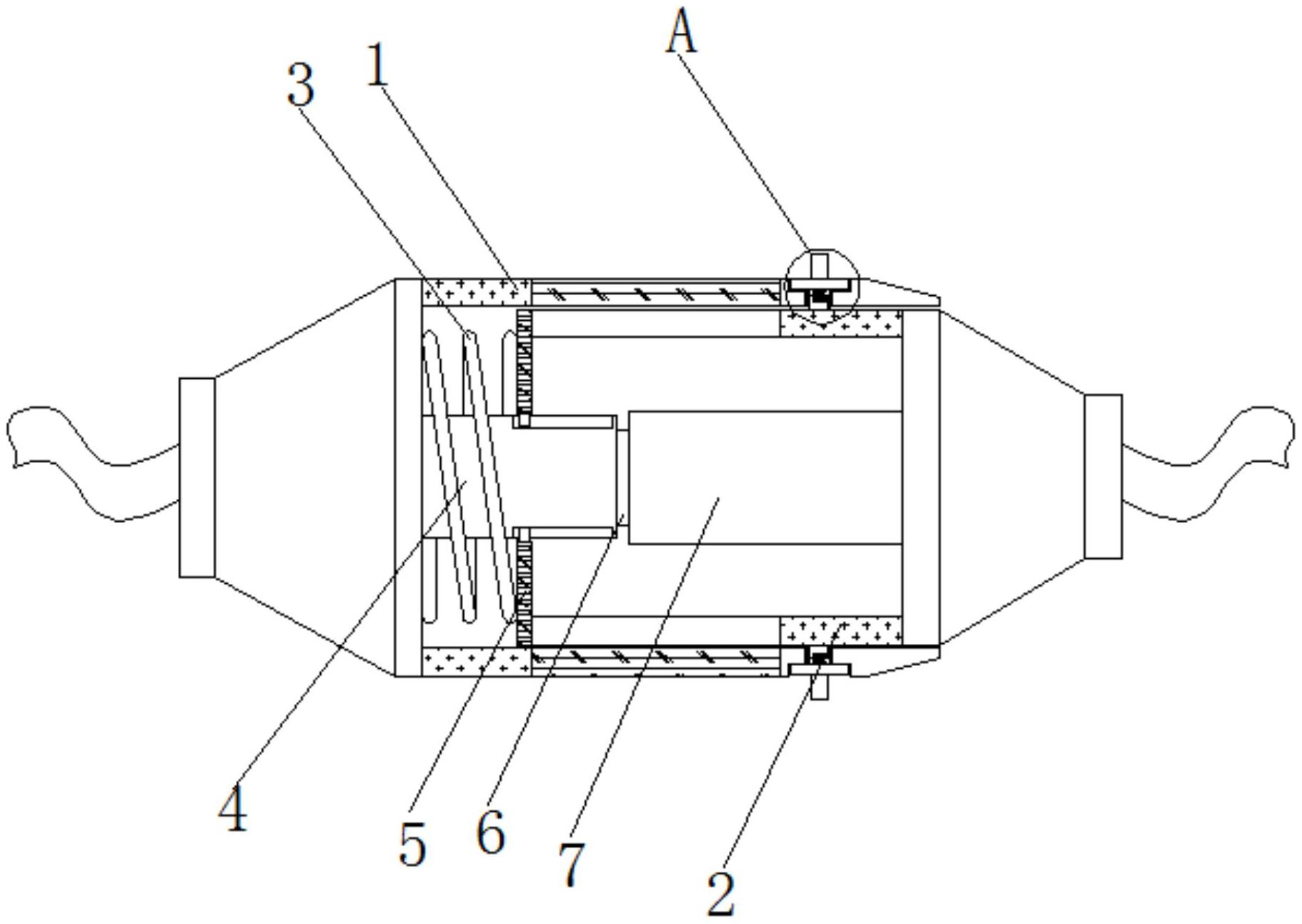
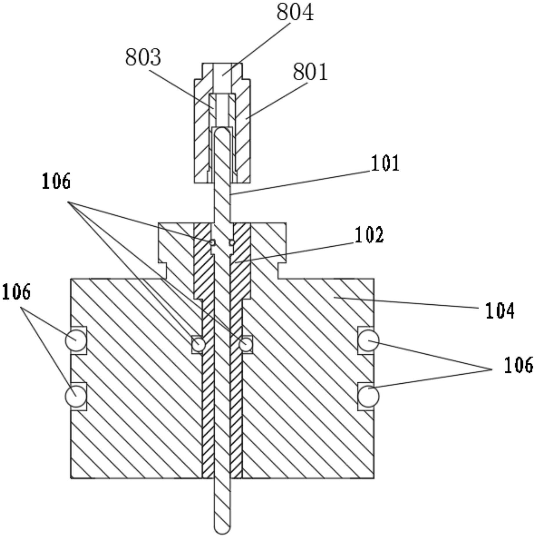
专利摘要:本申请涉及一种多通电缆连接器,其包括插座模块、插头模块、可调模块与连接模块,所述插座模块、插头模块与可调模块均用于与电缆电连接,所述插座模块、插头模块与可调模块均与连接模块插接配合并电连接。本申请通过设置连接模块与可调模块,实现电缆分接,适用于大电流分接,用户在使用时仅需实现插座模块、插头模块以及可调模块与连接模块插接配合即可,无需进行人工分接线,操作方便,提高操作安全性。

图片来源于网络,如有侵权,请联系删除
今年以来电光科技新获得专利授权6个,较去年同期增加了100%。结合公司2024年年报财务数据,2024年公司在研发方面投入了7848.29万元,同比减5.02%。
通过天眼查大数据分析,电光防爆科技股份有限公司共对外投资了20家企业,参与招投标项目3043次;财产线索方面有商标信息16条,专利信息187条,著作权信息30条;此外企业还拥有行政许可12个。
数据来源:天眼查APP
以上内容为证券之星据公开信息整理,由AI算法生成(网信算备310104345710301240019号),不构成投资建议。
本文来源:财富导航网
本文地址:https://sintedes.com/post/30817.html
关注我们:微信搜索“xiaoqihvlove”添加我为好友
版权声明:如无特别注明,转载请注明本文地址!
- •科大讯飞获得外观设计专利授权:“机器人”
- •中国石化获得发明专利授权:“一种植物性高强度自降解隔离暂堵剂及其制备与使用方法”
- •金陵饭店(601007.SH):董事长毕金标辞职
- •长江电力获得发明专利授权:“一种船舶航行信息校验方法及装置”
- •南网能源:截至2025年11月28日持有人数为101,088
- •比亚迪获得实用新型专利授权:“定子组件及电机、车辆”
- •【ESG动态】深水海纳(300961.SZ)获华证指数ESG最新评级C,行业排名第159
- •ST云动获得实用新型专利授权:“一种燃料电池储能调峰装置及系统”
- •英维克获得外观设计专利授权:“机房空调”
- •亿纬锂能获得实用新型专利授权:“汇流盘、电芯及电池”

