海亮股份获得发明专利授权:“模具可自动替换的挤压机”
2025年07月23日 | 浏览量:49305

图片来源于网络,如有侵权,请联系删除
证券之星消息,根据天眼查APP数据显示海亮股份(002203)新获得一项发明专利授权,专利名为“模具可自动替换的挤压机”,专利申请号为CN202211677811.6,授权日为2025年7月22日。
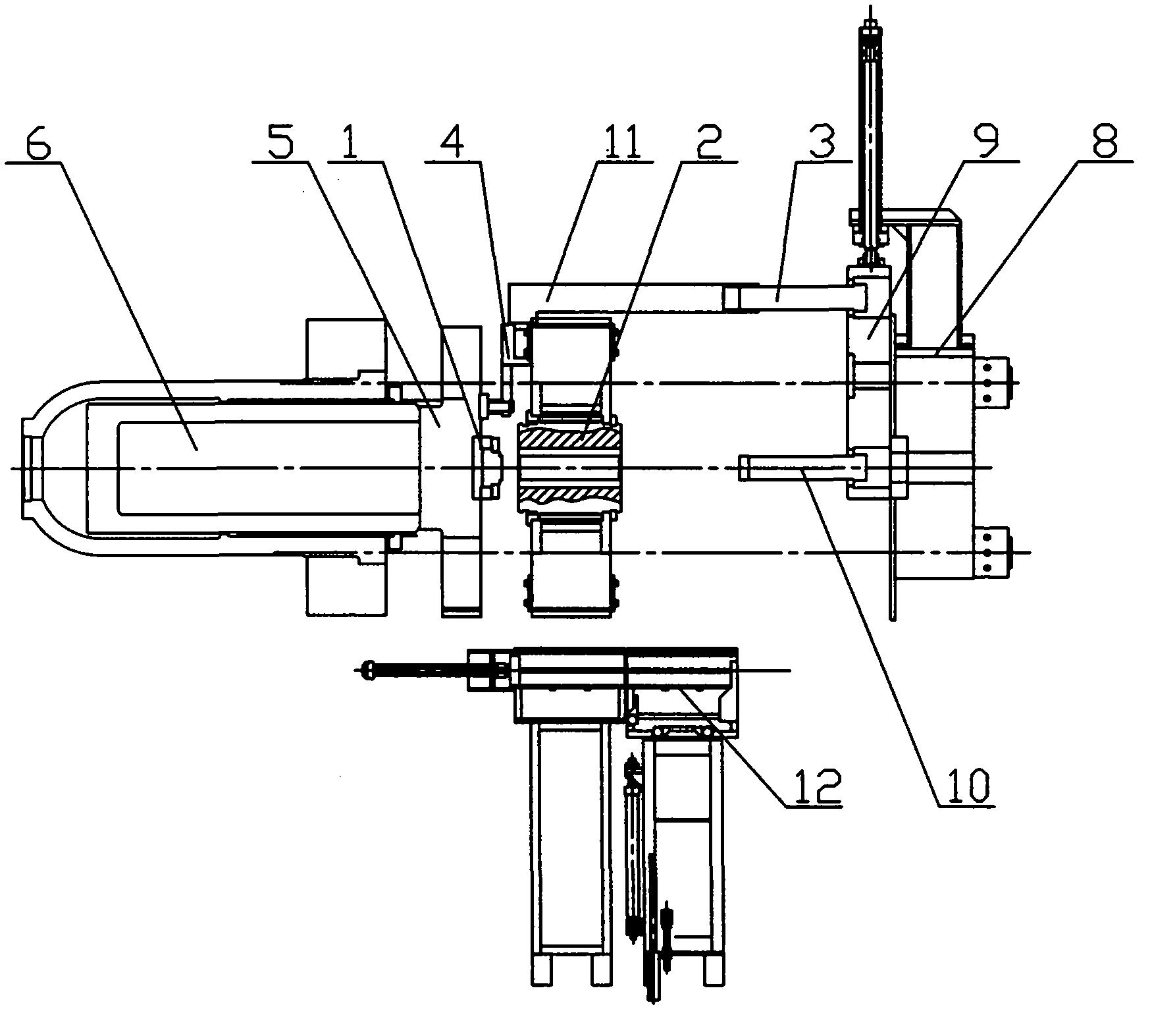
专利摘要:本发明公开了模具可自动替换的挤压机,属于挤压成型领域,本发明的模具可自动替换的挤压机,包括机座,机座上设有模具座体,模具座体上设有挤压模具,机座上位于模具座体在挤压模具轴向方向上的两侧设有挤压装置和出料装置,机座侧部设有连接模具座体的平移装置,平移装置用于在挤压流程结束后平移模具座体,机座上还设有模具替换设备和传送带,模具替换设备包括模具拆卸设备和模具转运设备,模具拆卸设备将挤压模具自模具座体上拆卸后放置于传送带上并通过传送带将挤压模具向外传送,去除余料的挤压模具由传送带向模具座体方向传送并由模具转运设备将挤压模具夹送至模具储存台上等待装配。
今年以来海亮股份新获得专利授权32个,较去年同期减少了5.88%。结合公司2024年年报财务数据,2024年公司在研发方面投入了1.4亿元,同比减23.59%。
通过天眼查大数据分析,浙江海亮股份有限公司共对外投资了32家企业,参与招投标项目157次;财产线索方面有商标信息87条,专利信息962条,著作权信息9条;此外企业还拥有行政许可36个。
数据来源:天眼查APP
以上内容为证券之星据公开信息整理,由AI算法生成(网信算备310104345710301240019号),不构成投资建议。
本文来源:财富导航网
本文地址:https://sintedes.com/post/31626.html
关注我们:微信搜索“xiaoqihvlove”添加我为好友
版权声明:如无特别注明,转载请注明本文地址!
- •科大讯飞获得外观设计专利授权:“机器人”
- •中国石化获得发明专利授权:“一种植物性高强度自降解隔离暂堵剂及其制备与使用方法”
- •金陵饭店(601007.SH):董事长毕金标辞职
- •长江电力获得发明专利授权:“一种船舶航行信息校验方法及装置”
- •南网能源:截至2025年11月28日持有人数为101,088
- •【ESG动态】深水海纳(300961.SZ)获华证指数ESG最新评级C,行业排名第159
- •比亚迪获得实用新型专利授权:“定子组件及电机、车辆”
- •英维克获得外观设计专利授权:“机房空调”
- •ST云动获得实用新型专利授权:“一种燃料电池储能调峰装置及系统”
- •亿纬锂能获得实用新型专利授权:“汇流盘、电芯及电池”

