宁德时代获得发明专利授权:“一种卷绕装置及卷绕料材的方法”
2025年08月02日 | 浏览量:59190

图片来源于网络,如有侵权,请联系删除
证券之星消息,根据天眼查APP数据显示宁德时代(300750)新获得一项发明专利授权,专利名为“一种卷绕装置及卷绕料材的方法”,专利申请号为CN202210318006.8,授权日为2025年8月1日。
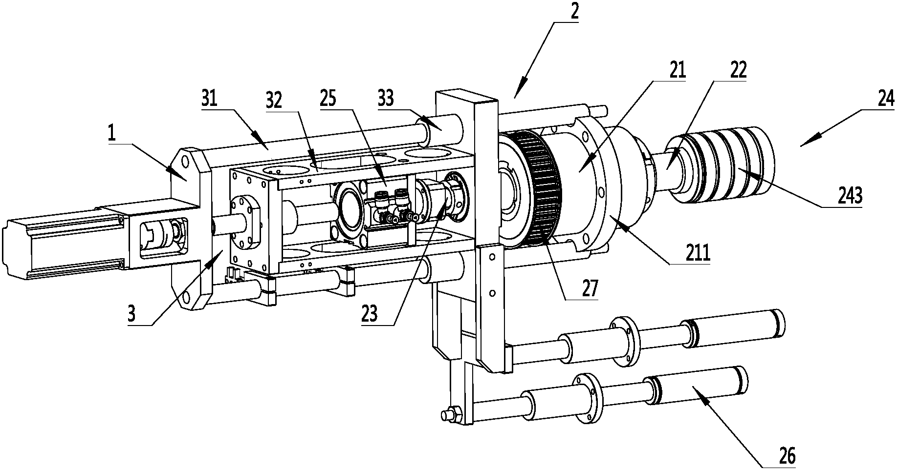
专利摘要:本申请实施例涉及电池制造的技术领域,尤其涉及一种卷绕装置及卷绕料材的方法,其中卷绕装置用于卷绕料材,其包括换卷机构、复合机构和分断机构,其中,换卷机构包括转盘和间隔设于转盘上的多个卷针,料材沿预设路径卷绕于其中一个卷针;复合机构沿预设路径设置于卷针的上游,用于在预设位置将多层料材层叠后复合在一起;分断机构沿预设路径设置于复合机构与任意一个卷针之间,用于将复合后的多层料材从复合区分断。采用本申请实施例提供的卷绕装置和卷绕料材的方法能够防止多层料材在被分断的瞬间及分断之后发生分层,从而避免或减轻多层料材之间错位问题的发生。

图片来源于网络,如有侵权,请联系删除
今年以来宁德时代新获得专利授权2589个,较去年同期增加了14.91%。结合公司2025年中报财务数据,今年上半年公司在研发方面投入了100.95亿元,同比增17.48%。
通过天眼查大数据分析,宁德时代新能源科技股份有限公司共对外投资了137家企业,参与招投标项目503次;财产线索方面有商标信息1259条,专利信息19488条,著作权信息396条;此外企业还拥有行政许可985个。
数据来源:天眼查APP
以上内容为证券之星据公开信息整理,由AI算法生成(网信算备310104345710301240019号),不构成投资建议。
本文来源:财富导航网
本文地址:https://sintedes.com/post/32429.html
关注我们:微信搜索“xiaoqihvlove”添加我为好友
版权声明:如无特别注明,转载请注明本文地址!
- •科大讯飞获得外观设计专利授权:“机器人”
- •中国石化获得发明专利授权:“一种植物性高强度自降解隔离暂堵剂及其制备与使用方法”
- •金陵饭店(601007.SH):董事长毕金标辞职
- •长江电力获得发明专利授权:“一种船舶航行信息校验方法及装置”
- •南网能源:截至2025年11月28日持有人数为101,088
- •比亚迪获得实用新型专利授权:“定子组件及电机、车辆”
- •【ESG动态】深水海纳(300961.SZ)获华证指数ESG最新评级C,行业排名第159
- •ST云动获得实用新型专利授权:“一种燃料电池储能调峰装置及系统”
- •英维克获得外观设计专利授权:“机房空调”
- •亿纬锂能获得实用新型专利授权:“汇流盘、电芯及电池”

