隆利科技获得实用新型专利授权:“一种导光板安装结构、背光模组及显示装置”
2025年08月05日 | 浏览量:76202

图片来源于网络,如有侵权,请联系删除
证券之星消息,根据天眼查APP数据显示隆利科技(300752)新获得一项实用新型专利授权,专利名为“一种导光板安装结构、背光模组及显示装置”,专利申请号为CN202422039328.6,授权日为2025年8月5日。
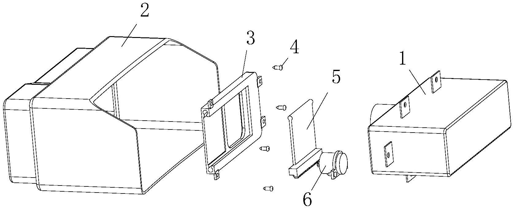
专利摘要:本实用新型公开了一种导光板安装结构、背光模组及显示装置,该导光板安装结构包括:并排设置且同方向延伸的导光板和灯条,灯条设在导光板的侧部,灯条包括电路板以及若干灯珠,若干灯珠间隔安装在电路板并朝向导光板;电路板的两端背离导光板折弯以形成折弯部,导光板与灯珠间距设置,导光板侧部的两端朝向灯条凸出以形成连接部,连接部抵接电路板且部分连接部与折弯部间距设置。本实用新型通过将电路板的两端背离导光板折弯以形成折弯部,使得导光板的连接部仅部分抵接电路板,另一部分与折弯部间距设置,以避免导光板热膨胀带动灯条位移而使灯珠接触连接部导致灯珠被损坏,同时保证显示的均匀性。

图片来源于网络,如有侵权,请联系删除
今年以来隆利科技新获得专利授权10个,较去年同期增加了66.67%。结合公司2024年年报财务数据,2024年公司在研发方面投入了5619.94万元,同比增7.75%。
通过天眼查大数据分析,深圳市隆利科技股份有限公司共对外投资了10家企业,参与招投标项目7次;财产线索方面有商标信息18条,专利信息424条,著作权信息11条;此外企业还拥有行政许可49个。
数据来源:天眼查APP
以上内容为证券之星据公开信息整理,由AI算法生成(网信算备310104345710301240019号),不构成投资建议。
本文来源:财富导航网
本文地址:https://sintedes.com/post/32533.html
关注我们:微信搜索“xiaoqihvlove”添加我为好友
版权声明:如无特别注明,转载请注明本文地址!
- •科大讯飞获得外观设计专利授权:“机器人”
- •中国石化获得发明专利授权:“一种植物性高强度自降解隔离暂堵剂及其制备与使用方法”
- •金陵饭店(601007.SH):董事长毕金标辞职
- •长江电力获得发明专利授权:“一种船舶航行信息校验方法及装置”
- •南网能源:截至2025年11月28日持有人数为101,088
- •【ESG动态】深水海纳(300961.SZ)获华证指数ESG最新评级C,行业排名第159
- •比亚迪获得实用新型专利授权:“定子组件及电机、车辆”
- •英维克获得外观设计专利授权:“机房空调”
- •ST云动获得实用新型专利授权:“一种燃料电池储能调峰装置及系统”
- •亿纬锂能获得实用新型专利授权:“汇流盘、电芯及电池”

