西部超导获得实用新型专利授权:“一种棒材轧制质量稳定性监测装置”
2025年08月15日 | 浏览量:60016

图片来源于网络,如有侵权,请联系删除
证券之星消息,根据天眼查APP数据显示西部超导(688122)新获得一项实用新型专利授权,专利名为“一种棒材轧制质量稳定性监测装置”,专利申请号为CN202521268233.X,授权日为2025年8月15日。
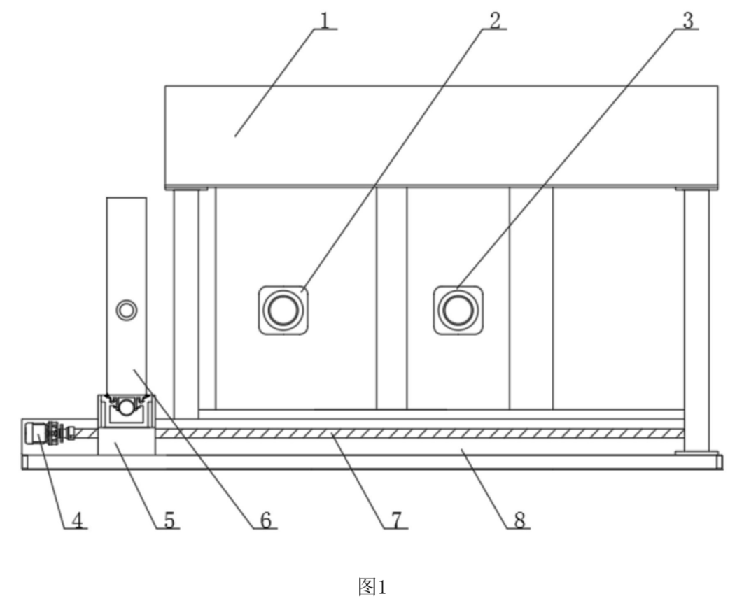
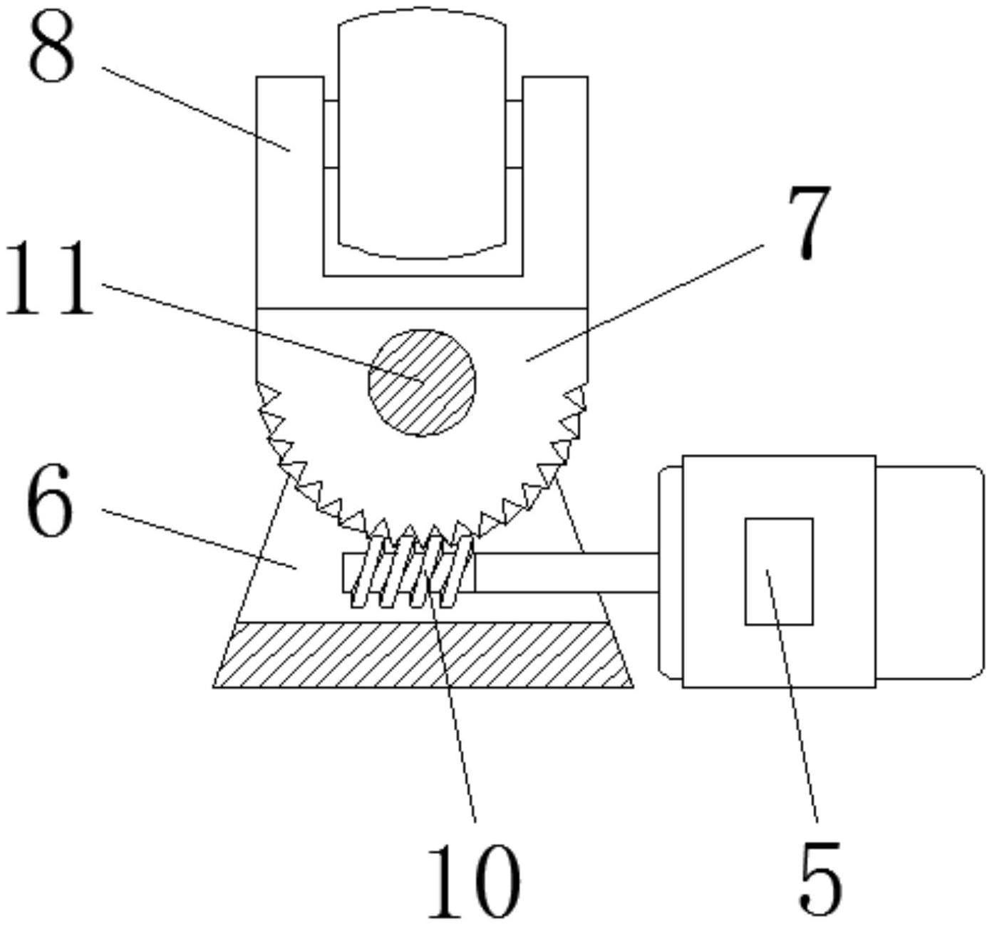
专利摘要:本实用新型属于棒材轧制技术领域,具体涉及一种棒材轧制质量稳定性监测装置,包括机架、设于机架上的至少两个辊轧机构、两个测温件、计时机构、闭合机构以及工控机构,两个测温件分别设于位于始末的两个辊轧机构上,闭合机构设有与辊轧机构数量对应的止挡件,止挡件设于辊轧机构的轧孔下方,辊轧机构、测温件、计时机构以及止挡件均与工控机构电/信号连接。工控机构根据测温件和计时机构采集质量控制关键参数并实时绘制SPC图并得出关键质量指标CPK,减少了人为误差。工控机构根据关键质量指标CPK判断轧制过程是否合格,从而控制止挡件与辊轧机构转动连接以闭合或打开轧孔,有效把控轧制生产过程中的质量控制,提升生产效率和生产质量。

图片来源于网络,如有侵权,请联系删除
今年以来西部超导新获得专利授权26个,较去年同期增加了85.71%。结合公司2024年年报财务数据,2024年公司在研发方面投入了3.51亿元,同比增6.51%。
通过天眼查大数据分析,西部超导材料科技股份有限公司共对外投资了19家企业,参与招投标项目516次;财产线索方面有商标信息44条,专利信息600条,著作权信息28条;此外企业还拥有行政许可142个。
数据来源:天眼查APP
以上内容为证券之星据公开信息整理,由AI算法生成(网信算备310104345710301240019号),不构成投资建议。
本文来源:财富导航网
本文地址:https://sintedes.com/post/33295.html
关注我们:微信搜索“xiaoqihvlove”添加我为好友
版权声明:如无特别注明,转载请注明本文地址!
- •科大讯飞获得外观设计专利授权:“机器人”
- •中国石化获得发明专利授权:“一种植物性高强度自降解隔离暂堵剂及其制备与使用方法”
- •金陵饭店(601007.SH):董事长毕金标辞职
- •长江电力获得发明专利授权:“一种船舶航行信息校验方法及装置”
- •南网能源:截至2025年11月28日持有人数为101,088
- •【ESG动态】深水海纳(300961.SZ)获华证指数ESG最新评级C,行业排名第159
- •比亚迪获得实用新型专利授权:“定子组件及电机、车辆”
- •英维克获得外观设计专利授权:“机房空调”
- •ST云动获得实用新型专利授权:“一种燃料电池储能调峰装置及系统”
- •亿纬锂能获得实用新型专利授权:“汇流盘、电芯及电池”

