九阳股份获得发明专利授权:“一种不用手洗食品加工机”
2025年08月16日 | 浏览量:77746

图片来源于网络,如有侵权,请联系删除
证券之星消息,根据天眼查APP数据显示九阳股份(002242)新获得一项发明专利授权,专利名为“一种不用手洗食品加工机”,专利申请号为CN202110158669.3,授权日为2025年8月15日。
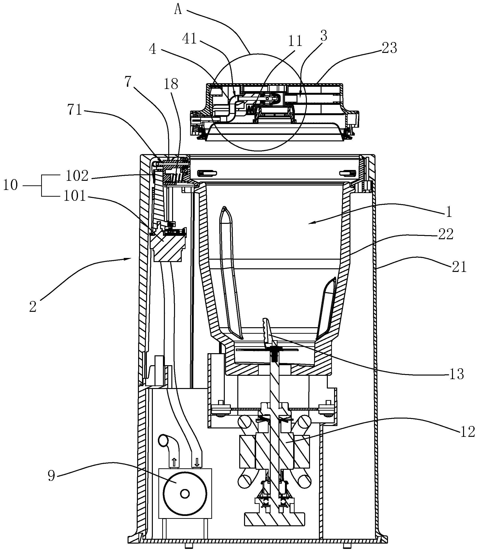
专利摘要:本发明提供一种不用手洗食品加工机,包括主机、加工腔,加工腔内设有由电机驱动的粉碎刀,加工腔上设有出浆口,还包括与出浆口连通的阀体组件及阀组驱动部,阀组驱动部驱动所述阀体组件打开或关闭所述出浆口,所述阀体组件包括阀壳,设于阀壳内的阀芯,其中,所述阀体组件内设有供水流流经并对阀体组件进行自动清洗的清洗空间,所述阀组驱动部驱动所述阀芯转动并改变所述清洗空间内的水流路径,通过变化的水流路径,对阀体组件内的各个清洗空间的角落进行彻底清洗。
今年以来九阳股份新获得专利授权403个,较去年同期减少了18.59%。结合公司2024年年报财务数据,2024年公司在研发方面投入了3.61亿元,同比减7.19%。
通过天眼查大数据分析,九阳股份有限公司共对外投资了17家企业,参与招投标项目196次;财产线索方面有商标信息2400条,专利信息12133条,著作权信息726条;此外企业还拥有行政许可13个。
数据来源:天眼查APP
以上内容为证券之星据公开信息整理,由AI算法生成(网信算备310104345710301240019号),不构成投资建议。
本文来源:财富导航网
本文地址:https://sintedes.com/post/33392.html
关注我们:微信搜索“xiaoqihvlove”添加我为好友
版权声明:如无特别注明,转载请注明本文地址!
- •科大讯飞获得外观设计专利授权:“机器人”
- •中国石化获得发明专利授权:“一种植物性高强度自降解隔离暂堵剂及其制备与使用方法”
- •金陵饭店(601007.SH):董事长毕金标辞职
- •长江电力获得发明专利授权:“一种船舶航行信息校验方法及装置”
- •南网能源:截至2025年11月28日持有人数为101,088
- •【ESG动态】深水海纳(300961.SZ)获华证指数ESG最新评级C,行业排名第159
- •比亚迪获得实用新型专利授权:“定子组件及电机、车辆”
- •英维克获得外观设计专利授权:“机房空调”
- •ST云动获得实用新型专利授权:“一种燃料电池储能调峰装置及系统”
- •亿纬锂能获得实用新型专利授权:“汇流盘、电芯及电池”

