汇通集团获得实用新型专利授权:“一种连续式沥青混合料全再生生产装置”
2025年08月22日 | 浏览量:61041

图片来源于网络,如有侵权,请联系删除
证券之星消息,根据天眼查APP数据显示汇通集团(603176)新获得一项实用新型专利授权,专利名为“一种连续式沥青混合料全再生生产装置”,专利申请号为CN202422020219.X,授权日为2025年8月22日。
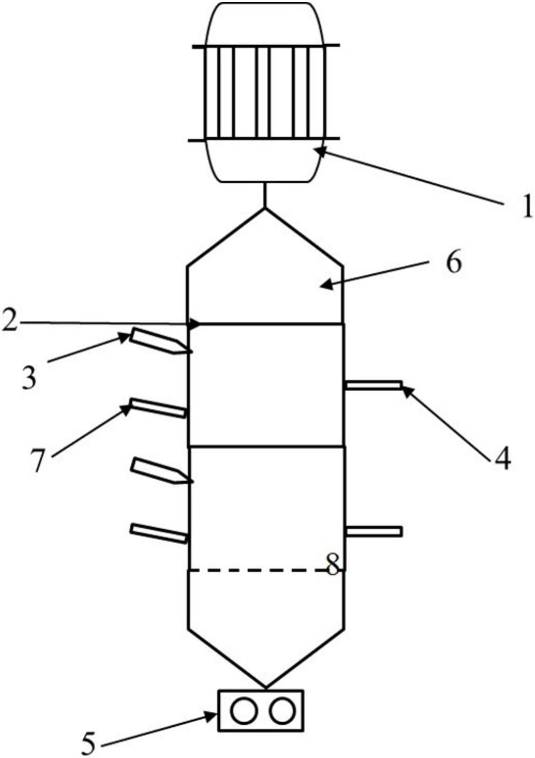
专利摘要:本实用新型公开了一种连续式沥青混合料全再生生产装置,包括电加热座,所述电加热座的顶部内侧固定连接有再生混合仓,所述再生混合仓的顶部中心处架设有搅拌电机,所述搅拌电机的底侧嵌合固定有轴承座,所述轴承座的内侧转动配合有转动轴,所述转动轴的顶端与搅拌电机的输出端固定连接,所述转动轴的底端伸入再生混合仓的内侧底部且其外侧固定连接有定位套,所述定位套的底部外侧转动配合有定位环,所述定位套的左侧中部固定连接有搅拌叶,所述搅拌叶的左端固定连接有U型连杆,所述U型连杆的左侧底端上转动配合有滚刷,设置滚刷全面贴合混合仓仓底夹角进行滚动贴合式搅拌,去除搅拌死角,进行全面混合,同时避免对混合仓内壁造成磨损问题。

图片来源于网络,如有侵权,请联系删除
今年以来汇通集团新获得专利授权5个,较去年同期减少了64.29%。结合公司2024年年报财务数据,2024年公司在研发方面投入了1976.66万元,同比增725.7%。
通过天眼查大数据分析,汇通建设集团股份有限公司共对外投资了23家企业,参与招投标项目4264次;财产线索方面有商标信息11条,专利信息110条,著作权信息12条;此外企业还拥有行政许可30个。
数据来源:天眼查APP
以上内容为证券之星据公开信息整理,由AI算法生成(网信算备310104345710301240019号),不构成投资建议。
本文来源:财富导航网
本文地址:https://sintedes.com/post/33842.html
关注我们:微信搜索“xiaoqihvlove”添加我为好友
版权声明:如无特别注明,转载请注明本文地址!
- •科大讯飞获得外观设计专利授权:“机器人”
- •中国石化获得发明专利授权:“一种植物性高强度自降解隔离暂堵剂及其制备与使用方法”
- •金陵饭店(601007.SH):董事长毕金标辞职
- •长江电力获得发明专利授权:“一种船舶航行信息校验方法及装置”
- •南网能源:截至2025年11月28日持有人数为101,088
- •【ESG动态】深水海纳(300961.SZ)获华证指数ESG最新评级C,行业排名第159
- •比亚迪获得实用新型专利授权:“定子组件及电机、车辆”
- •英维克获得外观设计专利授权:“机房空调”
- •ST云动获得实用新型专利授权:“一种燃料电池储能调峰装置及系统”
- •亿纬锂能获得实用新型专利授权:“汇流盘、电芯及电池”

