京东方A获得发明专利授权:“显示面板及在其中调节发光电源电压的方法、显示设备”
2025年08月23日 | 浏览量:61213

图片来源于网络,如有侵权,请联系删除
证券之星消息,根据天眼查APP数据显示京东方A(000725)新获得一项发明专利授权,专利名为“显示面板及在其中调节发光电源电压的方法、显示设备”,专利申请号为CN202310185776.4,授权日为2025年8月22日。
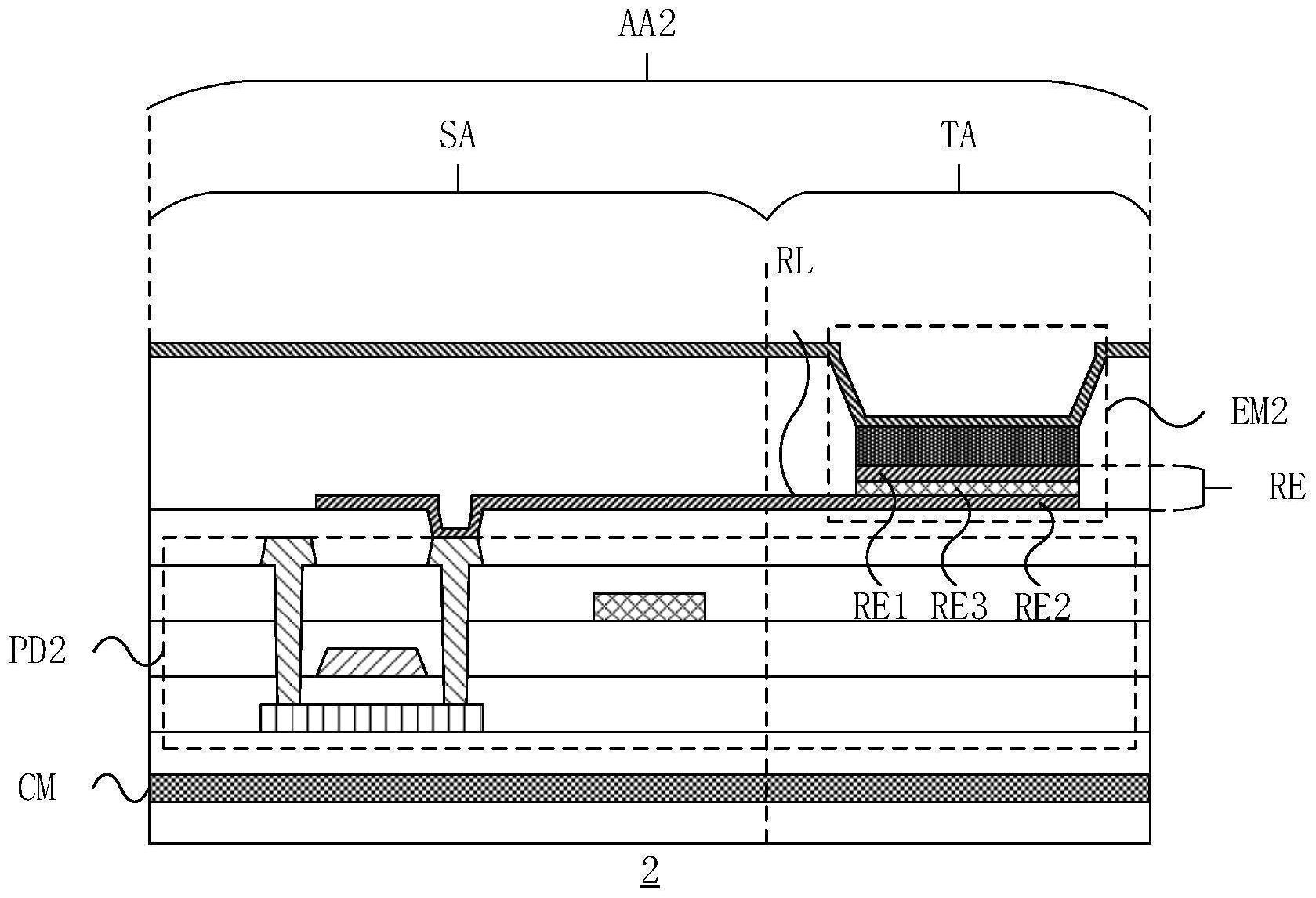
专利摘要:一种显示面板及在其中调节发光电源电压的方法、显示设备。该显示面板包括若干个发光元件、时序控制电路和发光电源电路;时序控制电路被配置为通过数据发送端向发光电源电路发送输出电压更新指令,以及向触发信号输出端提供触发指示信号,触发指示信号用于指示显示面板的显示帧内的画面刷新间歇时段;发光电源电路被配置通过数据接收端接收输出电压更新指令,并根据触发信号输入端的触发指示信号在画面刷新间歇时段之内执行对应于输出电压更新指令的输出电压更新操作。由此,可以帮助解决发光电源电压调节方案的应用导致严重显示不良的问题。
今年以来京东方A新获得专利授权2509个,较去年同期增加了0.48%。结合公司2024年年报财务数据,2024年公司在研发方面投入了131.23亿元,同比增15.94%。
数据来源:天眼查APP
以上内容为证券之星据公开信息整理,由AI算法生成(网信算备310104345710301240019号),不构成投资建议。
本文来源:财富导航网
本文地址:https://sintedes.com/post/33925.html
关注我们:微信搜索“xiaoqihvlove”添加我为好友
版权声明:如无特别注明,转载请注明本文地址!
- •科大讯飞获得外观设计专利授权:“机器人”
- •中国石化获得发明专利授权:“一种植物性高强度自降解隔离暂堵剂及其制备与使用方法”
- •金陵饭店(601007.SH):董事长毕金标辞职
- •长江电力获得发明专利授权:“一种船舶航行信息校验方法及装置”
- •南网能源:截至2025年11月28日持有人数为101,088
- •【ESG动态】深水海纳(300961.SZ)获华证指数ESG最新评级C,行业排名第159
- •比亚迪获得实用新型专利授权:“定子组件及电机、车辆”
- •英维克获得外观设计专利授权:“机房空调”
- •ST云动获得实用新型专利授权:“一种燃料电池储能调峰装置及系统”
- •亿纬锂能获得实用新型专利授权:“汇流盘、电芯及电池”

