山河智能获得实用新型专利授权:“高空作业组件及剪叉式高空作业平台辅助吊装装置”
2025年09月02日 | 浏览量:70205

图片来源于网络,如有侵权,请联系删除
证券之星消息,根据天眼查APP数据显示山河智能(002097)新获得一项实用新型专利授权,专利名为“高空作业组件及剪叉式高空作业平台辅助吊装装置”,专利申请号为CN202422377161.4,授权日为2025年9月2日。
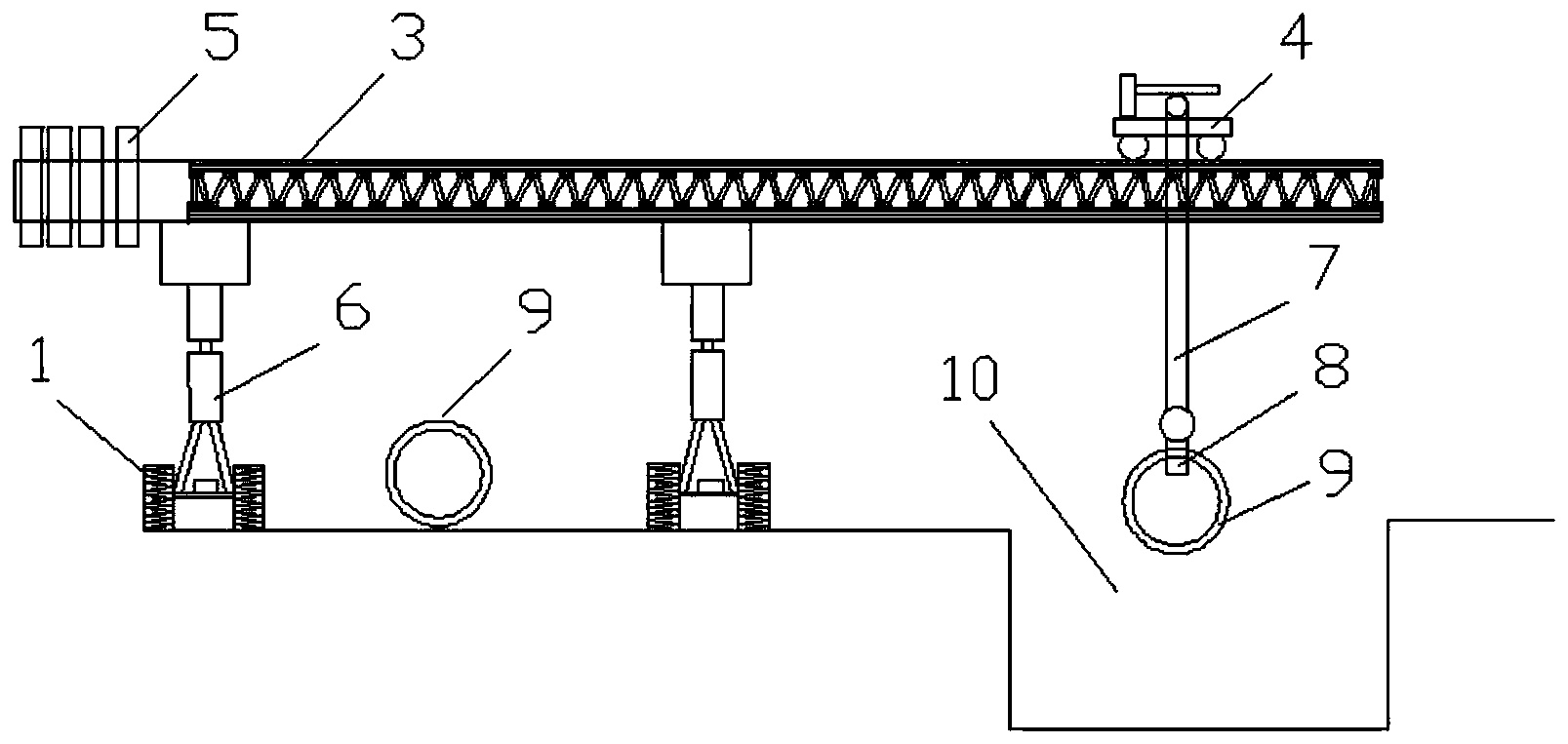
专利摘要:本实用新型公开了一种高空作业组件及剪叉式高空作业平台辅助吊装装置,涉及高空作业平台技术领域,剪叉式高空作业平台辅助吊装装置包括:单吊点板,其用于与起吊装置的吊绳连接;挂钩,其底部用于在剪叉平台吊装时与剪叉平台最下部的中间连杆钩接;中间轴套,其贯穿单吊点板设置,两个挂钩以单吊点板为中心对称分布,各挂钩的顶部均套设在中间轴套上;耳板,其设于单吊点板一侧,用于在吊装剪叉平台时与剪叉平台底部的平台耳板连接。本装置在剪叉平台起吊转运的过程中,不会对工作平台及其栏杆造成磨损现象。

图片来源于网络,如有侵权,请联系删除
今年以来山河智能新获得专利授权65个,较去年同期增加了4.84%。结合公司2025年中报财务数据,今年上半年公司在研发方面投入了1.2亿元,同比增11.34%。
通过天眼查大数据分析,山河智能装备股份有限公司共对外投资了45家企业,参与招投标项目1420次;财产线索方面有商标信息120条,专利信息1311条,著作权信息119条;此外企业还拥有行政许可268个。
数据来源:天眼查APP
以上内容为证券之星据公开信息整理,由AI算法生成(网信算备310104345710301240019号),不构成投资建议。
本文来源:财富导航网
本文地址:https://sintedes.com/post/34621.html
关注我们:微信搜索“xiaoqihvlove”添加我为好友
版权声明:如无特别注明,转载请注明本文地址!
- •科大讯飞获得外观设计专利授权:“机器人”
- •中国石化获得发明专利授权:“一种植物性高强度自降解隔离暂堵剂及其制备与使用方法”
- •金陵饭店(601007.SH):董事长毕金标辞职
- •长江电力获得发明专利授权:“一种船舶航行信息校验方法及装置”
- •南网能源:截至2025年11月28日持有人数为101,088
- •比亚迪获得实用新型专利授权:“定子组件及电机、车辆”
- •【ESG动态】深水海纳(300961.SZ)获华证指数ESG最新评级C,行业排名第159
- •ST云动获得实用新型专利授权:“一种燃料电池储能调峰装置及系统”
- •英维克获得外观设计专利授权:“机房空调”
- •亿纬锂能获得实用新型专利授权:“汇流盘、电芯及电池”

