龙腾光电获得发明专利授权:“阵列基板及其制作方法”
2025年09月27日 | 浏览量:54205

图片来源于网络,如有侵权,请联系删除
证券之星消息,根据天眼查APP数据显示龙腾光电(688055)新获得一项发明专利授权,专利名为“阵列基板及其制作方法”,专利申请号为CN202111212323.3,授权日为2025年9月26日。
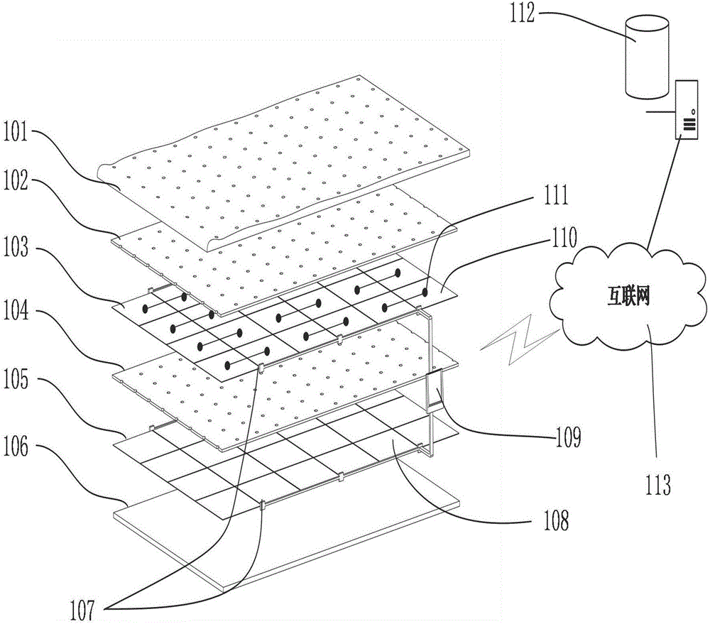
专利摘要:本发明公开了一种阵列基板及其制作方法,制作方法包括提供基底;在基底上形成第一金属层和第一绝缘层;在第一绝缘层上覆盖第一正性光阻层;从基底的顶部利用第一半色调掩膜板对第一正性光阻层进行曝光,最终形成扫描线、栅极和触控引线、在栅极绝缘层上形成整面的第二绝缘层;在第二绝缘层上覆盖负性光阻层;从基底的底部对负性光阻层进行曝光和显影,最终对应扫描线、栅极和触控引线的位置去除第二绝缘层,而其他区域则保留第二绝缘层;在第二绝缘层上形成整面的第二金属层;对第二金属层进行图形化处理,使第二金属层形成源极、漏极、数据线和触控桥接部。本发明的阵列基板及其制作方法不仅节约了成本,还提高了开口率。

图片来源于网络,如有侵权,请联系删除
今年以来龙腾光电新获得专利授权78个,较去年同期减少了39.53%。结合公司2025年中报财务数据,今年上半年公司在研发方面投入了9894.99万元,同比减13.8%。
通过天眼查大数据分析,昆山龙腾光电股份有限公司共对外投资了2家企业,参与招投标项目187次;财产线索方面有商标信息23条,专利信息4012条,著作权信息25条;此外企业还拥有行政许可19个。
数据来源:天眼查APP
以上内容为证券之星据公开信息整理,由AI算法生成(网信算备310104345710301240019号),不构成投资建议。
本文来源:财富导航网
本文地址:https://sintedes.com/post/35923.html
关注我们:微信搜索“xiaoqihvlove”添加我为好友
版权声明:如无特别注明,转载请注明本文地址!
- •科大讯飞获得外观设计专利授权:“机器人”
- •中国石化获得发明专利授权:“一种植物性高强度自降解隔离暂堵剂及其制备与使用方法”
- •金陵饭店(601007.SH):董事长毕金标辞职
- •长江电力获得发明专利授权:“一种船舶航行信息校验方法及装置”
- •南网能源:截至2025年11月28日持有人数为101,088
- •【ESG动态】深水海纳(300961.SZ)获华证指数ESG最新评级C,行业排名第159
- •比亚迪获得实用新型专利授权:“定子组件及电机、车辆”
- •英维克获得外观设计专利授权:“机房空调”
- •ST云动获得实用新型专利授权:“一种燃料电池储能调峰装置及系统”
- •亿纬锂能获得实用新型专利授权:“汇流盘、电芯及电池”

