白银有色获得实用新型专利授权:“一种浇注模具开合推架”
2025年10月24日 | 浏览量:60907

图片来源于网络,如有侵权,请联系删除
证券之星消息,根据天眼查APP数据显示白银有色(601212)新获得一项实用新型专利授权,专利名为“一种浇注模具开合推架”,专利申请号为CN202422705653.1,授权日为2025年10月24日。
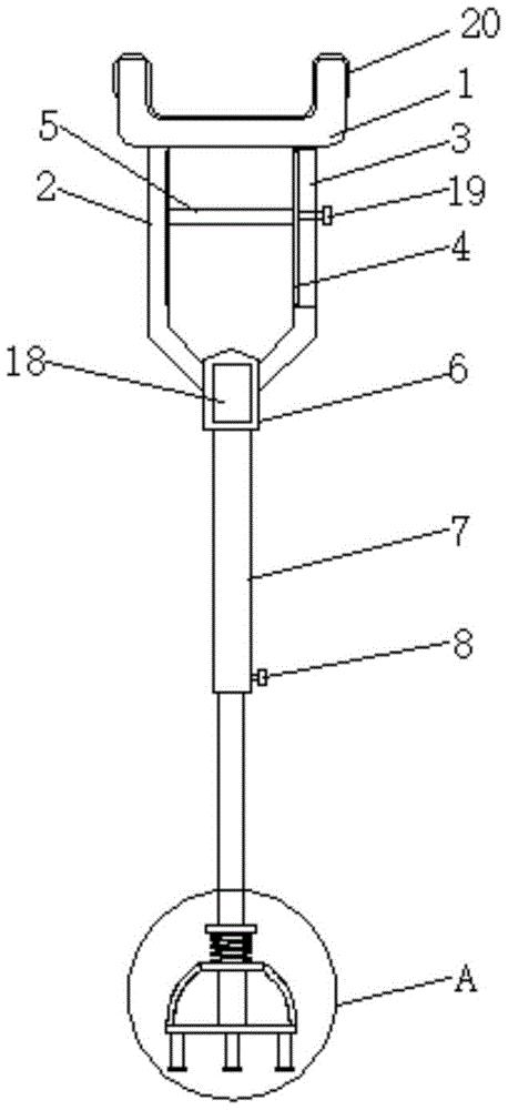
专利摘要:本实用新型公开了一种浇注模具开合推架,属于金属冶金技术领域。包括机架、模具组和推板,机架包括左右两组立架,两组立架的上部前后两侧对称设置有槽钢轨道,两组立架的下部前后两侧对称设置有工字钢支撑,工字钢支撑上方焊接有圆钢滑道,圆钢滑道上放置有多副阴阳极板的浇注模具组,机架右侧的立架上水平安装有油缸,油缸的活塞杆端头连接在推板右侧中央处。本实用新型通过液压缸提供推动力,保证多副模具同时开合,提高劳动效率。本实用新型通过圆钢作为滑轨,减少模具滑动摩擦力;本实用新型采用法兰连接型式的油缸,将油缸安装固定于机架上,安装便捷;本实用新型设置的推板的滚轮在机架的槽钢轨道上滚动,轻松完成模具开合。
今年以来白银有色新获得专利授权122个,较去年同期增加了114.04%。结合公司2025年中报财务数据,今年上半年公司在研发方面投入了1.43亿元,同比增312.64%。
通过天眼查大数据分析,白银有色集团股份有限公司共对外投资了43家企业,参与招投标项目7666次;财产线索方面有商标信息20条,专利信息1434条,著作权信息25条;此外企业还拥有行政许可430个。
数据来源:天眼查APP
以上内容为证券之星据公开信息整理,由AI算法生成(网信算备310104345710301240019号),不构成投资建议。
本文来源:财富导航网
本文地址:https://sintedes.com/post/37642.html
关注我们:微信搜索“xiaoqihvlove”添加我为好友
版权声明:如无特别注明,转载请注明本文地址!
- •科大讯飞获得外观设计专利授权:“机器人”
- •中国石化获得发明专利授权:“一种植物性高强度自降解隔离暂堵剂及其制备与使用方法”
- •金陵饭店(601007.SH):董事长毕金标辞职
- •长江电力获得发明专利授权:“一种船舶航行信息校验方法及装置”
- •南网能源:截至2025年11月28日持有人数为101,088
- •【ESG动态】深水海纳(300961.SZ)获华证指数ESG最新评级C,行业排名第159
- •比亚迪获得实用新型专利授权:“定子组件及电机、车辆”
- •英维克获得外观设计专利授权:“机房空调”
- •ST云动获得实用新型专利授权:“一种燃料电池储能调峰装置及系统”
- •亿纬锂能获得实用新型专利授权:“汇流盘、电芯及电池”

