东安动力获得实用新型专利授权:“一种铰链联动夹紧吊装工具”
2026年01月24日 | 浏览量:60331

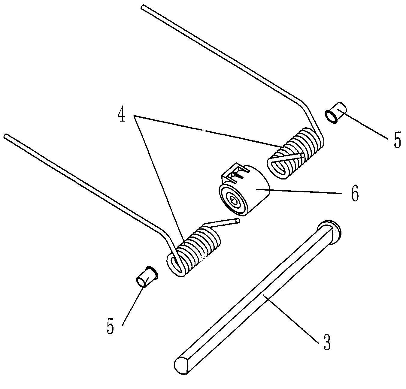
图片来源于网络,如有侵权,请联系删除
证券之星消息,根据天眼查APP数据显示东安动力(600178)新获得一项实用新型专利授权,专利名为“一种铰链联动夹紧吊装工具”,专利申请号为CN202520180094.9,授权日为2026年1月23日。
专利摘要:一种铰链联动夹紧吊装工具,属于发动机装配技术领域。下轴杆两端与交叉设置的下连杆的交叉部限位铰接,下连杆上端与中轴杆对应端限位铰接,中轴杆两端与上连杆下端限位铰接,上连杆上端与上轴杆对应端限位铰接;下连杆下端与夹板连接,夹板相对面有定位块;其中一个下连杆与L型的锁止杆两端部固定,锁止杆转角部插接有锁止销,锁止销与另一个下连杆对应插接。本实用新型通过铰链联动设计自主适应工件的不规则表面,通过四点定位方式精准夹紧工件,利用工件自重实现稳定夹紧,确保工件在吊装过程中保持水平或所需角度,解决了现有吊装工具在吊装不规则形状工件时面临的夹紧固定困难、工件不稳定以及易损坏加工面等问题。
今年以来东安动力新获得专利授权29个,较去年同期增加了20.83%。结合公司2025年中报财务数据,2025上半年公司在研发方面投入了3576.66万元,同比增8.17%。
通过天眼查大数据分析,哈尔滨东安汽车动力股份有限公司共对外投资了5家企业,参与招投标项目2960次;财产线索方面有商标信息17条,专利信息1169条;此外企业还拥有行政许可47个。
数据来源:天眼查APP
以上内容为证券之星据公开信息整理,由AI算法生成(网信算备310104345710301240019号),不构成投资建议。
本文来源:财富导航网
本文地址:https://sintedes.com/post/43561.html
关注我们:微信搜索“xiaoqihvlove”添加我为好友
版权声明:如无特别注明,转载请注明本文地址!
- •科大讯飞获得外观设计专利授权:“机器人”
- •中国石化获得发明专利授权:“一种植物性高强度自降解隔离暂堵剂及其制备与使用方法”
- •金陵饭店(601007.SH):董事长毕金标辞职
- •长江电力获得发明专利授权:“一种船舶航行信息校验方法及装置”
- •南网能源:截至2025年11月28日持有人数为101,088
- •【ESG动态】深水海纳(300961.SZ)获华证指数ESG最新评级C,行业排名第159
- •比亚迪获得实用新型专利授权:“定子组件及电机、车辆”
- •英维克获得外观设计专利授权:“机房空调”
- •ST云动获得实用新型专利授权:“一种燃料电池储能调峰装置及系统”
- •亿纬锂能获得实用新型专利授权:“汇流盘、电芯及电池”

