动力新科获得实用新型专利授权:“一种用于发动机排气歧管隔热棉固定的支承结构”
2026年03月06日 | 浏览量:69488

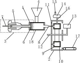
图片来源于网络,如有侵权,请联系删除
证券之星消息,根据天眼查APP数据显示动力新科(600841)新获得一项实用新型专利授权,专利名为“一种用于发动机排气歧管隔热棉固定的支承结构”,专利申请号为CN202520896432.9,授权日为2026年3月6日。
专利摘要:本实用新型涉及发动机技术领域,公开了一种用于发动机排气歧管隔热棉固定的支承结构,包括发动机主体,所述发动机主体上设有缸盖和排气歧管,所述缸盖与排气歧管之间固定有隔热棉支架,所述排气歧管上覆盖有隔热棉,所述隔热棉固定在隔热棉支架上,所述隔热棉支架由多个V型薄板拼接而成,其紧贴缸盖以及排气歧管的V型法兰。本实用新型在缸盖侧面增加多个螺孔固定隔热棉支架并通过隔热棉支架在缸盖顶部折弯并打孔焊接螺母或螺栓,使缸盖上方可产生多个固定螺孔结构,通过打孔焊接螺母或螺栓等形式,使排气歧管下方可增加多个固定螺孔结构,使隔热棉紧贴缸盖罩壳和机体而无装配间隙,达到安全隔热防护的目的。
今年以来动力新科新获得专利授权7个,较去年同期增加了40%。结合公司2025年中报财务数据,2025上半年公司在研发方面投入了1.2亿元,同比减15.8%。
数据来源:天眼查APP
以上内容为证券之星据公开信息整理,由AI算法生成(网信算备310104345710301240019号),不构成投资建议。
本文来源:财富导航网
本文地址:https://sintedes.com/post/45871.html
关注我们:微信搜索“xiaoqihvlove”添加我为好友
版权声明:如无特别注明,转载请注明本文地址!
- •科大讯飞获得外观设计专利授权:“机器人”
- •中国石化获得发明专利授权:“一种植物性高强度自降解隔离暂堵剂及其制备与使用方法”
- •金陵饭店(601007.SH):董事长毕金标辞职
- •长江电力获得发明专利授权:“一种船舶航行信息校验方法及装置”
- •南网能源:截至2025年11月28日持有人数为101,088
- •【ESG动态】深水海纳(300961.SZ)获华证指数ESG最新评级C,行业排名第159
- •比亚迪获得实用新型专利授权:“定子组件及电机、车辆”
- •英维克获得外观设计专利授权:“机房空调”
- •ST云动获得实用新型专利授权:“一种燃料电池储能调峰装置及系统”
- •亿纬锂能获得实用新型专利授权:“汇流盘、电芯及电池”

